
L’affascinante e sconosciuta storia di Hedy Lamarr, l’attrice che inventò la tecnologia per le comunicazioni segrete in tempo di guerra.
In un mondo che celebra gli innovatori, alcune storie rimangono incredibilmente nascoste nelle pieghe della storia. Tra queste, vi è la narrazione affascinante di Hedy Lamarr, un’icona indimenticabile del grande schermo che celava un ingegno scientifico rivoluzionario. Mentre le luci della ribalta illuminavano la sua straordinaria bellezza e talento artistico, pochi conoscevano la profondità del suo contributo all’avanzamento tecnologico. Ma cosa potrebbe legare una stella di Hollywood all’evoluzione della scienza e della tecnologia? E come ha fatto questa donna straordinaria a superare i confini tra arte e scienza, lasciando un’eredità che ancora oggi influisce sul nostro mondo tecnologico? Immergiamoci in una storia che ci porta oltre la semplice apparenza, alla scoperta di una verità celata dietro gli occhi che hanno scrutato il futuro. La sua visione ha anticipato tecnologie che avrebbero trasformato il ventunesimo secolo, gettando le basi per le innovazioni che oggi consideriamo indispensabili. Attraverso lo sguardo di Lamarr, vediamo non solo il mondo che era, ma anche quello che potrebbe essere.
Educata privatamente fin dall’età di 4 anni, Lamarr era una pianista e ballerina talentuosa e padroneggiava quattro lingue all’età di 10 anni. La sua passione per il cinema e il teatro, insieme alla precoce esposizione agli affari tecnologici attraverso le passeggiate con suo padre, che le spiegava il funzionamento dei dispositivi, rifletteva una mente curiosa e inventiva, assetata di conoscenza oltre i confini imposti dalla società a una donna del suo tempo.

Wikimedia Commons
Nata a Vienna nel 1914 come Hedwig Eva Maria Kiesler, Hedy Lamarr è emersa dalle ombre del teatro europeo per diventare una delle attrici più luminose di Hollywood, ma la sua vita fu molto più che un semplice racconto di glamour e celebrità. Prima di incantare il pubblico americano, la giovane Hedy era già un volto noto nel cinema europeo, grazie alla sua controversa apparizione nel film “Ecstasy” del 1933, che la rese celebre per una breve scena di nudo che non passò inosservata dalla critica del tempo. Tuttavia, la sua vita cambiò drasticamente quando fuggì dal suo primo marito, un ricco produttore di munizioni austriaco, per trasferirsi a Parigi e, successivamente, a Londra, dove incontrò il capo dello studio Metro-Goldwyn-Mayer, Louis B. Mayer, che le offrì un contratto a Hollywood.
In una notte scintillante e ricca di promesse nel glamour di Hollywood degli anni ’40, due menti brillanti si incontrarono in un vortice di conversazioni frizzanti e idee che avrebbero cambiato il corso della storia. Era il 1940, e la bellezza senza tempo di Hedy Lamarr si mescolava al fascino eccentrico del compositore George Antheil.

La loro unione fu una fusione di mondi apparentemente distanti: Lamarr, l’indimenticabile stella del cinema nota per la sua grazia e talento senza pari, e Antheil, il genio musicale pioniere nei territori sconosciuti dell’elettronica e del controllo remoto. Ma fu proprio in quella notte, tra il frastuono della folla e il ronzio delle chiacchiere, che il destino li avrebbe uniti per sempre in una sinfonia di creatività e innovazione.
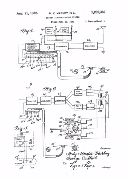
La più sorprendente invenzione di Hedy Lamarr è infatti rappresentata dal suo brevetto per un “sistema di comunicazione segreto”, sviluppato insieme al compositore avant-garde durante la Seconda Guerra Mondiale. Questa invenzione era destinata a prevenire l’intercettazione nemica dei segnali radio guidati verso i siluri, utilizzando una tecnica chiamata “frequency hopping” (salto di frequenza).
Ma come funziona il “frequency hopping”? Immaginiamo un dialogo tra due persone in una stanza affollata. Invece di parlare a un volume costante decidono di spostarsi fisicamente da un angolo all’altro della stanza ogni volta che la conversazione diventa difficile da seguire a causa del rumore. Solo loro conoscono il “pattern” di spostamento, rendendo la loro conversazione incomprensibile per chiunque stia cercando di ascoltare.

Trasferendo questo concetto alle comunicazioni radio, il “frequency hopping” fa “saltare” il segnale tra diverse frequenze secondo un pattern noto solo al trasmettitore e al ricevitore. L’ispirazione è frutto della passione per la musica della coppia. In effetti, tutto comincia da un pianoforte con 88 tasti, ognuno rappresentante una frequenza diversa. Lamarr e Antheil idearono un sistema in cui il segnale cambiava “nota” (frequenza) in modo rapido e imprevedibile, come se stessero suonando una melodia segreta che solo loro conoscevano. Questo rendeva estremamente difficile per i nemici (nel contesto della Seconda Guerra Mondiale) o per qualsiasi interferenza, intercettare o disturbare il segnale, poiché il pattern di salto è noto solo ai dispositivi che comunicano tra loro.

La bellezza di questa invenzione risiede nella sua semplicità e nella sua genialità. Nonostante fosse inizialmente concepito per scopi militari, il principio del “frequency hopping” è diventato fondamentale per lo sviluppo di tecnologie moderne come il Wi-Fi e il Bluetooth, permettendo a questi sistemi di evitare interferenze e garantire comunicazioni sicure e affidabili.
Nel 1997 Lamarr e Antheil ricevettero l’Electronic Frontier Foundation Pioneer Award e nel 2014 sono stati inseriti nella National Inventors Hall of Fame degli Stati Uniti.
La vita di Hedy Lamarr è un inno alla resilienza e alla capacità di trascendere le etichette, incarnando la forza di una donna che ha saputo reinventarsi (ed inventare) e lasciare un’impronta indelebile nel mondo. La sua storia è una testimonianza potente di come la determinazione e il coraggio possano abbattere i muri dell’incomprensione e del pregiudizio, ispirando chiunque ad inseguire la propria passione con audacia, indipendentemente dagli ostacoli.




